安徽省优秀中等职业学校   安徽省示范中等职业学校   全国示范性基层电大   安徽省示范教师培训机构

芜湖市继续教育综合管理平台-操作手册—学校和个人

【文章来源:转发】   【发布人:教务处】   【发布时间: 2025-02-27】   【点击量:

芜湖市专业技术人员综合管理服务平台继续教育模块操作手册

 

 

一、登录

1.1 访问网址

网址:http://220.178.191.53:8083/jxjy-ui/#/views/index 

温馨提示:推荐使用谷歌、火狐或360浏览器(360浏览器请开启急速模式)

打开网址如下图:

image.png 

 

1.2 用户注册、登录

1.2.1 专业技术人员登录

点击用户登录按钮,进入安徽政务服务网统一认证中心,已有账号,请在 “个人用户”输入用户名和密码进行登录。

image.png 

没有账号请点击注册按钮,按照页面需求填写相关信息,进行个人注册。

image.png 

1.2.2 单位登录

点击单位登录按钮,进入安徽政务服务网统一认证中心,已有账号,请在 “法人用户”输入用户名和密码进行登录。

image.png 

没有账号请点击注册按钮,按照页面需求填写相关信息,进行法人注册。

image.png 

 

二、系统使用

2.1 专业技术人员

2.1.1 个人资料

专业技术人员登录进入系统后,先要完善个人的资料信息,请注意统一社会信用代码的填写,会影响到未来学时认定的申报。

image.png 

2.1.2 继续教育信息

查询当前登录人的专业课和公需课信息,详情如下图:

image.png 

image.png 

2.1.3 学时认定申报

专业技术人员可在此模块申请专业课的学时认定,申请流程:

image.png 

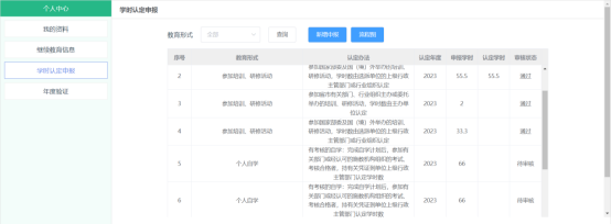
学时认定申报业务界面如下:

image.png 

需要申请认定学时,请点击“新增申报”按钮,界面如下,请按照界面填写相关内容和上传相应附件材料。

image.png 

附件材料

2020、2021、2022、2023年逐年上传已经核印的继续教育证书

image.png 

 

 

2024年需同时上传集中培训合格证、远程培训合格证、2024年寒假研修合格证、2024暑假研修合格证。

2.2 单位用户

2.2.1 学时认定审核

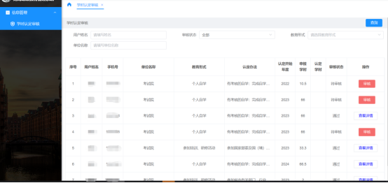
单位用户主要是登录系统,对本单位人员进行学时认定审核。

温馨提示:如果本单位人员提交过学时认定信息,单位查询不到,请让申请人核实自己的个人信息中填写的统一社会信用代码

image.png 

image.png