【文章来源:信息办】 【发布人:信息办】 【发布时间: 2016-12-26】 【点击量: 】
学生学籍异动操作手册
1、打开学校网站域名地址:http://www.whjxgcxx.com,在首页点击“数字校园”链接。如图1-1所示。

图1-1
2、在打开的数字校园平台登录界面中输入用户名和密码,用户名为姓名首字母+8位出生日期(如:李明 lm19860101),初始密码为123。如密码忘记请于系统管理员季晓宝联系。如图1-2所示。

图1-2
3、数字化校园平台登录成功后,点击个人空间中“学生管理”链接,如图1-3所示。在打开的“学生管理”平台中,点击“学籍管理”|“学籍异动”链接。如图1-4所示。

图1-3

图1-4
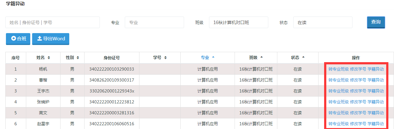
4、“学籍异动”链接打开后,自动跳转至“学籍异动”操作界面,如图1-5所示。在操作前,首先要选择所在班级(双击即可弹出下拉列表),然后再选择“状态”,最后,点击“查询”按钮。

图1-5
5、班级学生信息打开后,对本班学生学籍情况进行异动修改,如“转专业班级”、“休学”、“退学”等,“休学”、“退学”、“复学”等异动,单击“学籍异动”按钮即可进行修改。如图1-6所示。

图1-6
6、学生学籍异动务必真实,修改完成后,再查询核实人数和状态,确保数据有效性、完整性。